Sony запатентовала «ИИ-призрака» — он даст совет или пройдет сложный момент за вас

Пропустил обучение, запнулся и вернулся к обучению? Не мем, а жиза. Но с этим делом Sony поможет: в Сети всплыл очередной патент — на этот раз японцы придумали «ИИ-призрака».
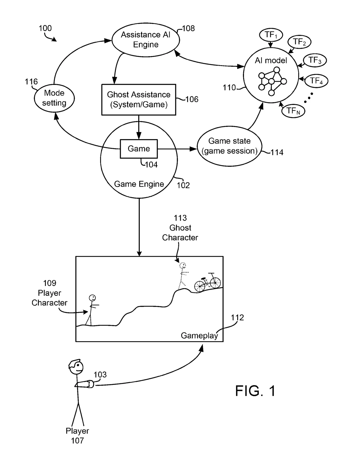
Документы были поданы еще в сентябре 2024 года и опубликованы в апреле 2025 года. Суть простая: искусственный интеллект в виде настраиваемого персонажа с возможностью взаимодействия, работая в разных режимах, даст совет или наглядно покажет, как пройти тот или иной участок игры, а в крайнем случае махнет рукой на нуба и просто возьмет управление на себя.
Это сделает обучение персонализированным, также ИИ-призрак станет одной из опций доступности. Помощник собирает данные и анализирует поведение игрока, свои знания он черпает из информации на различных сайтах и видео с прохождениями на стриминговых сервисах и в социальных сетях.
